Nylon Snap Rivet

MATERIAL:NYLON 6 
FLAME CLASS:UL94 V-2/ V0 
COLOR:NATURAL--W , BLACK--B 
TEMPERATURE:-40°C to 85°C 
Unit:mm
Part No.
Hole Dia.
适应板厚
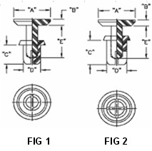
A
B
C
D
E
"G"
Panel Thick
FIG
RH-3035
0.122~0.126
(3.1-3.2)
0.039-0.079 (1.0-2.0)
0.252 (6.4)
0.039 (1.0)
0.138 (3.5)
0.118 (3.0)
0.26 (6.5)
1
RH-3045
0.079-0.118 (2.0-3.0)
0.177 (4.5)
RH-3055
0.118-0.157 (3.0-4.0)
0.217 (5.5)
RH-3065
0.157-0.197 (4.0-5.0)
0.256 (6.5)
0.39 (10.0)
RH-3075
0.197-0.236 (5.0-6.0)
0.295 (7.5)
RH-3080
0.217-0.256 (5.5-6.5)
0.315 (8.0)
RH-3535
0.142~0.146 (3.6-3.7)
0.039-0.079 (1.0-2.0)
0.138 (3.5)
0.139 (3.5)
0.26 (6.5)
2
RH-3545
0.079-0.118 (2.0-3.0)
0.177 (4.5)
RH-3555
0.118-0.157 (3.0-4.0)
0.217 (5.5)
0.39 (10.0)
RH-3560
0.138-0.177 (3.5-4.5)
0.236 (6.0)
RH-3570
0.177-0.217 (4.5-5.5)
0.276 (7.0)
RH-3580
0.216-0.256 (5.5-6.5)
0.315 (8.0)

 

Copyright 2009 - 2012 Shanghai Kinglok Electrical Material Co.,Ltd. All rights reserved.
Addr:Building 3,No. 380,Minmin Road,Pudong,Shanghai,China
Tel :+86 21-58381118,58991538,58350020,50478011 Fax :+86 21-50211732 E-mail: info@kinglok.com